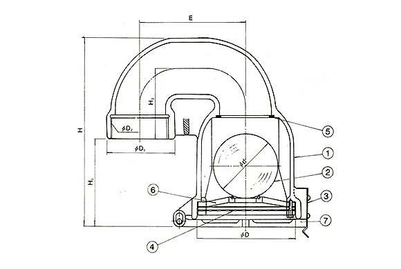
| وحدة الأبعاد: مم | ||||||||||||
| مقاس | ح | H₁ | H₂ | ΦD | ΦD₁ | ΦD₂ | Φd | و | الوزن التقريبي (كجم) | |||
| 50A | 229 | 112 | 85 | 128 | 73 | الجزء الثاني | 80 | 146 | 11 | |||
| 65A | 239 | 97 | 100 | 128 | 89 | PT21/2 | 80 | 154 | 12 | |||
| 80A | 267 | 115 | 105 | 146 | 101 | PT3 | 88 | 170 | 22 | |||
| 100 أمبير | 323 | 130 | 135 | 180 | 129 | الجزء الرابع | 115 | 204 | 25 | |||
| 125 أمبير | 407 | 178 | 155 | 232 | 156 | الجزء الخامس | 150 | 244 | 30 | |||
| 150 أمبير | 512 | 241 | 180 | 286 | 185 | PT6 | 184 | 294 | 35 | |||
| 200A | 630 | 308 | 200 | 356 | 238 | PT8 | 230 | 355 | 39 | |||
| رقم الجزء | مادة | ||
| 1 | FC، FCD | ||
| 2 | SUS 304 | ||
| 3 | BsBF | ||
| 4 | SUS3304 | ||
| 5 | المجلس الوطني للبحوث | ||
| 6 | FC، FCD | ||
| 7 | FC، FCD |
No. 7, inside No. 345, Linfu West Street, Yingdong Village, Beian Sub-district Office, Jimo District, Qingdao City, Shandong Province